ISO 7326是關(guan) 於(yu) 橡膠和塑料軟管—靜態條件下的耐臭氧性評估的檢測標準。
前言
ISO(國際標準化組織)是國家標準機構(ISO成員機構)的全球聯合會(hui) 。製定國際標準的工作通常是通過ISO技術委員會(hui) 來進行的。對建立了技術委員會(hui) 的主題感興(xing) 趣的每個(ge) 成員機構均有權代表該委員會(hui) 。與(yu) ISO聯絡的政府和非政府國際組織也參加了這項工作。 ISO在電氣標準化的所有問題上與(yu) 國際電工委員會(hui) (IEC)緊密合作。
國際標準是根據ISO/IEC指令第2部分中給出的規則起草的。
技術委員會(hui) 的主要任務是準備國際標準。技術委員會(hui) 通過的國際標準草案已分發給成員機構進行投票。作為(wei) 出版物國際標準要求至少75%的投票機構批準。
請注意,本文檔的某些內(nei) 容可能是專(zhuan) 利權的主題。 ISO對識別任何或所有此類專(zhuan) 利權概不負責。
ISO 7326由技術委員會(hui) ISO/TC 45(橡膠和橡膠產(chan) 品,SCI小組委員會(hui) ,軟管(橡膠和塑料))準備。
第三版取消並替代了經過技術修訂的第二版(ISO 7326:1991)。
介紹
本國際標準中描述的方法提供了一種評估軟管在靜態條件下對大氣臭氧有害影響的抵抗力的方法。
1範圍
本國際標準規定了五種確定軟管外套的耐臭氧性的方法:
方法1,在軟管本身上進行,孔徑不超過25 mm;
方法2,對於(yu) 直徑大於(yu) 25毫米的孔,從(cong) 軟管壁上的試件上進行;
方法3,對於(yu) 孔徑大於(yu) 25 mm的情況,從(cong) 蓋上的試件上進行;
方法4,對於(yu) 所有孔徑的軟管,均應執行;
方法5,對於(yu) 所有內(nei) 徑尺寸,都在可膨脹的軟管(例如,紡織增強軟管)上執行。
注:對於(yu) 無法從(cong) 其上取下試件的帶有內(nei) 置配件的軟管,可使用已硫化至相同程度的適當聚合化合物試紙,根據ISO 1431-1在平板上評估耐臭氧性。
2規範性引用文件
以下參考文件對於(yu) 本文件的應用是必不可少的。凡是注日期的引用文件,僅(jin) 所引用的版本適用。凡是不注日期的引用文件,其最新版本(包括所有的修改單)適用於(yu) 本標準。
ISO 1431-1:2004,硫化橡膠或熱塑性橡膠—耐臭氧龜裂—第1部分:靜態和動態應變測試
ISO 23529,橡膠—物理測試方法準備和調節測試件的通用程序
3一般考慮
方法1和2是通常使用的方法,僅(jin) 當不可能根據方法2進行測試時才使用方法3。方法4適用於(yu) 所有孔徑。方法5特別用於(yu) 測試處於(yu) 膨脹狀態的可膨脹軟管。
即使被測軟管的外皮成分相同且已固化至同樣的程度。使用的測試方法應符合產(chan) 品標準中的規定。
4儀(yi) 器
放置在測試櫃中的所有設備均應使用不會(hui) 吸收或分解臭氧的材料製成。
4.1臭氧櫃,帶有產(chan) 生臭氧以及監測和控製臭氧濃度的設備,如ISO 1431-1中所述。
4.2試件支架,如圖1所示(方法1)。
4.3如圖2所示,試件支架例如由塗有油漆或鋁的木材製成(用於(yu) 方法2)。
4.4夾具,用於(yu) 拉長試件(方法3)。
應遵循ISO 1431-1:2004第5.6節中給出的詳細信息。
4.5圓柱體(ti) ,如圖3所示,外徑是被測試軟管的八倍(方法4)。
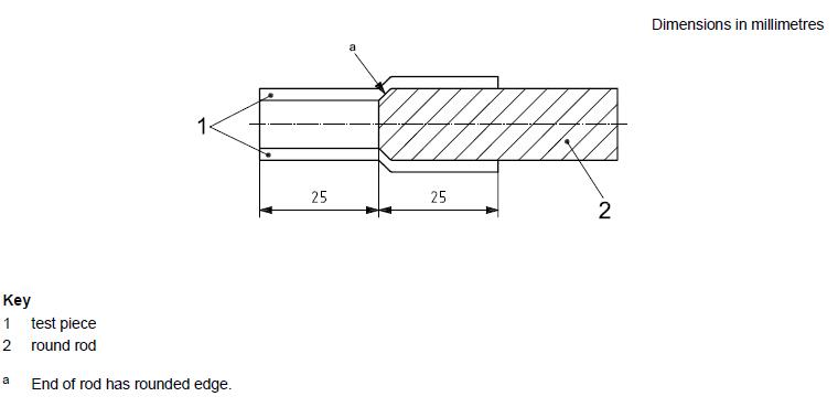
4.6圓杆,如圖4所示,外徑為(wei) 被測軟管內(nei) 徑的1,2倍(方法5)。
5試件
5.1試件類型
5.1.1方法1
試件應由軟管樣品組成。長度應通過以下公式計算
L =π(rb + dext)+ 2dext
式中:
L是試片的長度;
rb是被測軟管的彎曲半徑,如8.1.1所述;
dext是被測軟管的外徑。
5.1.2方法2
試件應包括一條從(cong) 軟管上縱向切下的條。 條帶應為(wei) 150毫米長和25毫米寬。
5.1.3方法3
試件應包括一條寬度為(wei) 25 mm的軟管蓋條,從(cong) 軟管上縱向取下。
根據ISO 23529輕輕拋光帶材的底麵,以消除任何加固痕跡,從(cong) 而確保沿帶材長度的應力均勻。
5.1.4方法4
試件應由足夠長的軟管樣本組成,該軟管樣本至少應繞圓柱體(ti) 纏繞一次,以用於(yu) 測試。
5.1.5方法5
試件應由直的軟管組成,長約50 mm。
5.2試件數量
應測試三個(ge) 試件。
6試樣的調理
在製造後的24小時內(nei) 不得進行任何測試。
製造和測試之間的時間間隔應符合ISO 23529的規定。要進行可比較的評估,應盡可能在製造後的相同時間間隔後進行測試。
按照適當程序所述安裝的試件應在標準溫度(參見ISO 23529),無光或暗光的條件下,在基本上無臭氧的氣氛中調節48小時。
7測試條件
除非相關(guan) 軟管規格中規定了其他條件,否則在(40±2)°C的溫度下,將測試件暴露在臭氧濃度為(wei) (50±5)百萬(wan) 分之一(pphm)的臭氧櫃中(72-20)h中。
注:已經發現,當試件暴露於(yu) 以百萬(wan) 分之一表示的恒定臭氧濃度時,大氣壓力的差異會(hui) 影響臭氧裂解。可以通過以分壓(即毫帕斯卡)表示臭氧化空氣中的臭氧含量,並在恒定臭氧分壓下進行比較來考慮這種影響。在大氣壓和溫度的標準條件下(101 kPa,273 K),1 pphm的濃度等於(yu) 1,01 mPa的分壓。
8程序
8.1方法1
8.1.1將每個(ge) 試件安裝在試件支架(4.2)上,如圖1所示。半徑rb應當等於(yu) 被測軟管的規定最小彎曲半徑,如果未指定,則等於(yu) 其六倍內(nei) 部直徑。
8.1.2用蓋子密封試件的端部,以防止內(nei) 襯和加強層吸收臭氧。
8.1.3在2小時,4小時,24小時,48小時和72小時的暴露時間後,在仍處於(yu) 擴展狀態下,以×2放大倍率檢查試件,而忽略鄰近固定點的區域。如果發現裂縫,請記錄其性質和首次觀察到的時間。

圖1 —方法1的安裝軟管的布置
8.2方法2
8.2.1如圖2所示,將每個(ge) 試件安裝在試件支架(4.3)上,以達到在20毫米的距離上測得的軟管蓋所需的伸長率。如果沒有其他規定,覆蓋層的伸長率應為(wei) 20%。用耐臭氧漆在每個(ge) 試件的邊緣和襯裏上塗漆。
8.2.2在2 h,4 h,24 h,48 h和72 h的暴露時間後,仍在延伸狀態下以×2放大倍率檢查試件,而忽略鄰近固定點的區域。如果發現裂縫,請記錄其性質和首次觀察到的時間。
8.3方法3
8.3.1將每個(ge) 試件安裝在夾具(4.4)中,並施加20%的伸長率。
8.3.2在2小時,4小時,24小時,48小時和72小時的暴露時間後,在仍處於(yu) 擴展狀態下,以×2放大倍率檢查試件,而忽略鄰近固定點的區域。如果發現裂縫,請記錄其性質和首次觀察到的時間。

圖2 —方法2的試件安裝在支架上
8.4方法4
8.4.1將每個(ge) 試件纏繞在外徑為(wei) 軟管直徑八倍的圓柱體(ti) 上,如圖3所示。
8.4.2在2 h,4 h,24 h,48 h和72 h的暴露時間後,以×2放大倍率檢查試件,而忽略試件末端綁在一起的區域。如果發現裂縫,請記錄其性質和首次觀察到的時間。

圖3 —纏繞在圓柱上的測試件(方法4)
8.5方法5
8.5.1將外徑為(wei) 軟管內(nei) 徑1,2倍的圓棒插入每個(ge) 試件中,如圖4所示。
8.5.2在2小時,4小時,24小時,48小時和72小時的暴露時間後,以×2放大倍數檢查試樣的兩(liang) 端和外殼。如果發現裂縫,請記錄其性質和首次觀察到的時間。
圖4 —將圓棒插入測試件中(方法5)
9測試報告
測試報告應包括以下信息:
a)引用本國際標準;
b)對測試軟管的完整描述;
c)使用的方法(1、2、3、4或5);
d)測試條件的細節,即臭氧濃度,溫度,暴露時間和伸長率(如適用);
e)是否觀察到裂紋,如果觀察到,其性質和首次觀察到裂紋的時間;
f)測試日期。
188博金宝下载官网公司代理的德國ANSEROS安索羅斯臭氧箱滿足ISO 7326測試標準。
1.德國ANSEROS安索羅斯臭氧老化箱介紹
德國ANSEROS安索羅斯公司依據國際標準如ASTM、ISO和DIN發展並製造了臭氧測試係統,為(wei) 用戶測試橡膠產(chan) 品的臭氧老化提供了可靠的測試條件。
德國ANSEROS安索羅斯公司SIM係列臭氧箱專(zhuan) 門用於(yu) 電纜和密封件的測試,其功能包括:自動PLC控製,精確模擬和控製溫度、濕度、臭氧濃度;不同的工具幫助您進行多項靜態和動態測試。使用ANSEROS公司臭氧測試係統,您能夠實現任何橡膠製品的加速老化,從(cong) 而預測產(chan) 品壽命。
一般均具有3大主要部分,即臭氧發生器、老化試驗箱、臭氧濃度控製與(yu) 檢測裝置等。
2.德國ANSEROS安索羅斯臭氧老化箱型號


(2)德國ANSEROS安索羅斯臭氧老化箱 SIM 7500型號


(3)德國ANSEROS安索羅斯臭氧老化箱 SIM 6050-T型號


(4)德國ANSEROS安索羅斯臭氧老化箱 SIM 6010-T型號


(5)德國ANSEROS安索羅斯臭氧老化箱 SIM 8000型號
